洋河百亿理财连踩3雷,“茅五”布局金融赢麻了?
新春佳节,三两好友相聚,总免不了小酌一杯。
中国人一向内敛、含蓄、不善表达,一杯白酒下肚,深藏于心的感情才有了宣泄之口。白酒一向在国人的心中有着特殊的地位,千年以来,人们对白酒的需求从未消退,白酒行当也成为常青行业,贵州茅台(600519.SH)、五粮液(000858.SZ)、洋河股份(002304.SZ)等企业越发壮大,成为A股历史上涨幅超过百倍的大牛股。
随着时代的发展,“茅五洋”们也早已不满足于只做主业,而是紧跟潮流纷纷做起了投资。财大气粗的酒企出手阔绰,投资方向既有银行理财产品,也有房产、汽车等高风险、高投入项目。老本行之外,在投资事业中,谁更胜一筹?
白酒“老三”百亿投资路
白酒江湖的厮杀一向激烈,除老大茅台、二哥五粮液外,从营收规模和净利润看,洋河股份目前是茅台、五粮液之后的第三名。前三季度洋河股份营收265亿元,净利润90.78亿元。且前三季度洋河股份营收净利均保持在20%左右的增长。
“在2021年,天之蓝、海之蓝相继焕新,强化“腰部”力量;“梦之蓝M6+”、梦之蓝M9进一步扩容高端市场;头排苏酒、贵酒世家等产品相继发力品类条线,初步形成了‘高端顶天立地、中端铺天盖地、低端稳接地气’的产品布局。多彩战略的布局不仅带来了营收增长,更创造了一个良性循环的生态体系,这也是洋河未来的核心竞争力。”洋河股份表示。
除了白酒老三的标签外,洋河股份还有“投资大佬”之称。不仅因其每年投资金额投入之大,且在投资这条路上,走得跌宕起伏。
白酒“老三”的投资之路最早可追溯到2011年。2011年,洋河股份以2.04亿元的资金参与设立中金天津佳天私募股权基金,占比50.89%。根据“蓝科技”报道称,该项目为投资天江药业的载体,2013年实现分红386万元,2014年分红643万元,直到2015年天江药业被卖后,洋河股份共获利约4.7亿元。
2013年洋河股份又以3亿元认购中银证券(601696.SH),认购比例为3.16%。截至2019年,洋河累计从中银证券公司获现金分红5054万。
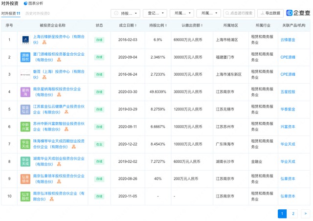
2018年,洋河股份对外宣称,为满足战略布局需要,设立江苏洋河投资管理有限公司。成为洋河股份参与一级市场股权投资的主要平台。企查查显示,洋河投资以LP的形式与多家明星机构合作,持有份额。例如云峰基金、华泰紫金、弘章资本等。
图源:企查查
洋河股份股权投资中最为引人关注的便是民生信托。2021年8月10日,武汉中央商务区股份有限公司将其持有的民生信托约5.95%股权转让至洋河股份,交易完成后,洋河股份成为民生信托第四大股东。
2017年-2020年,洋河股份分别以67.75亿元、85.7亿元、104.4亿元、121.2亿元购买信托产品,投资规模呈现逐年递增趋势。期间,对应的投资收益分别为6.24亿元、9.18亿元、8.5亿元、12.06亿元,四年增长了93%。
图源:罐头图库
不过,2021年房地产行业的不景气也对洋河股份造成了影响,增长趋势戛然而止。2021年12月4日,洋河股份发布公告表示,称去年5月出资1.9亿元认购的投向恒大贵阳一项目的信托产品,如今约1.68亿本金与收益到期无法兑付,此外,洋河手头仍持有4只恒大信托产品,将于2022年到期。
洋河股份因此产生了6879万逾期未收回款项。年报显示,洋河股份对2021全年暂未到期的信托理财计提2.14亿元,加上恒大,共计提2.5亿元。受房地产行业等影响,洋河股份的信托规模迅速下降,从2020年的121.2亿元下降为2021年20.8亿元。
除此之外,为洋河股份曾带来丰厚收益的中银证券,2021年二级市场表现不佳,中银证券股价自2021年年初便开始一路下跌,从年初的29元/股跌至年末的13元/股,最终造成洋河股份2021年公允价值变动-6.9亿元。
同时,民生信托2021年业绩出现巨幅下降,2021年总营收-28.1亿元,同比减少225.02%,净利润-38.33亿元,同比减少753.48%。民生信托造成洋河股份的公允价值变动-6500万元。
最终,洋河股份2021年的投资收益9亿元,因公允价值变动-7.2亿元,较2020年同比下降25%。同时2021年洋河股份营收265亿元,同比增长21%,净利润75.08亿元,仅微涨0.34%。
但洋河股份并未因此停下投资的脚步,甚至延伸向了更大的范围。例如大消费、新经济、大健康、新科技等领域。
2021年8月,洋河股份公告显示,拟出资30亿元设立全资子公司江苏洋河梦想投资,并与专业投资机构南京华泰洋河股权投资母基金(有限合伙)(简称“华泰洋河母基金”)共同投资。其中江苏洋河梦想投资还出资0.1亿元设立洋河蓝色投资,后者以0.1亿元认购华泰洋河母基金的普通合伙份额,成为GP之一。这也是洋河股份首次以GP的身份参与投资。
据最新披露的进展显示,华泰洋河母基金已完成备案,正式成立。投资领域包括:大消费方向的智能家居、健康食饮、农业科技等;新经济的数字化、web3.0等;大健康的药品、医疗器械、消费医疗等;新科技的半导体、新能源、新材料等领域。
“公司主要是利用闲置资金进行对外投资,优化投资组合,提高公司闲置资金的管理效率。公司未来的工作重心还是聚焦主业,不断提高管理水平和运营效率,夯实基本面。大消费、大健康等方面与公司主业存在一定关联领域;新经济、新科技等符合国家战略支持的新兴领域,也可能存在潜在的合作可能。利用母基金更广泛的链接市场化资源,挖掘具有潜力的投资领域与标的,在获得投资收益的同时,将积极探索赋能主业的方式与切入点。”洋河股份表示。
“茅五”投资五花八门
事实上,不止洋河股份爱做投资。茅台、五粮液这些在白酒界驰骋多年的企业同样不掩饰对投资事业的钟爱。
其中茅台在地产、文旅、交通运输、数据信息等领域都有投资。
2012年,茅台投资10.7亿元,成为贵阳机场的第二大股东。2014年8月,茅台在三亚海棠湾投资22亿元,进行海南旅游地产项目的建设。2018年,茅台入股了云上贵州大数据(集团)有限公司,出资额为4.5亿元,占比26.47%,系第二大股东。
除此之外,茅台还以直接或者间接的方式,参股了贵阳银行、贵银金租、贵州银行等多家金融机构。
图源:罐头图库
2016年,茅台入股贵银金租,持股20%,成为其第二大股东。随后又通过旗下子公司中国贵州茅台酒厂贸易(香港)有限公司,控股茅台建银(上海)融资租赁有限公司(下称“茅台建银”)51%股权,成为其第一大股东。
2017年,茅台又和华康金融控股集团、贵州贵安金投、贵州贵民集团等11家公司共同出资成立了华贵人寿保险股份有限公司(下称:华贵人寿),茅台为第一大股东,控股20%。这是贵州第一家本土法人保险公司,成立半年实现保费收入破亿。
此外,茅台还是贵州银行(6199.HK)的第二大股东,持股14.13%。贵州银行是贵州省唯一一家省级城市商业银行,成立于2012年,也是贵州省继贵阳银行之后的第二家上市银行。
在金融领域的持续布局下,2021年,茅台金融板块实现营业收入36.51亿元,仅融资租赁营收3.72亿元,增长54.2%。
独立经济学家王赤珅表示,茅台得益于白酒板块的超级红利,呈现出经营业绩、营业利润、融资能力三升的良好态势,金融就是拉动茅台成为世界级企业的引擎,茅台金融布局无疑是实现可持续发展的原动力。同时,在民营金融机构分分逃离战场的情况下,茅台目前大势进军金融业,也算是一次精准的抄底。
此外,茅台还在2022年抄底房地产。当年11月23日,其斥资11亿元成立孙公司遵义文康置业发展有限责任公司(下称“文康置业”),经营范围包括旅游开发项目策划咨询、园区管理服务、康复辅具适配服务、健康咨询服务、房地产开发经营等。
去年12月2日,文康置业便拿下2宗国有建设用地使用权,合计耗资10.54亿元。两块土地面积合计为28.33万平方米,实际土地性质以住宅用途为主,商业建筑面积不超5%,同时需要配建一所幼儿园以及至少192套廉租保障房。
和茅台相比,五粮液同样在金融方面有所布局,同时还加入了造纸、造车等行业。
图源:罐头图库
1998年,五粮液入股宜宾纸业,2017年成为其控股股东。
据宜宾纸业财报显示,自2005年至2020年间,宜宾纸业连续16年扣非归母净利润为负,合计亏损8.5亿元。直到2021年才扭亏为盈,实现2175万元的扣非归母净利润。
五粮液在宜宾的布局还包括金融方面。
2006年,宜宾市商业银行成立,五粮液集团即为该行第一大股东。经过多次股权变动,截至目前,五粮液持股19.99%。
2022年11月,宜宾市商业银行发布公告表示,计划在近年实现上市,按照计划,力争2023年、确保2025年实现上市。
此外,五粮液还加入了新兴造车行业。2018年,五粮液集团斥资25亿元购买了奇瑞旗下凯翼汽车51%股权,成为最大股东。还豪掷37亿打造凯翼宜宾智慧工厂。
在奇瑞的技术支持下,2020年6月,凯翼汽车旗下新品SUV车型炫界正式量产上市,价格区间在5.39-7.99万元之间。但销量不佳,炫界在2021年共销售了1.15万辆新车,凯翼汽车年销量仅2.03万辆。
最终五粮液2019年-2021年、2022年上半年的投资收益分别为9250万元、9350万元、9734万元和4394万元。
酒企做投资,
辅助主业还是“不务正业”?
“茅五洋”的投资虽五花八门,但论相同点,就是都选择了金融领域。
王赤珅认为,实而优则金,主营业务发展好的企业,基本标准统一的自选动作就是进军金融业,从利用金融到涉及金融,从小牌照到大牌照,从兼业金融到主业金融,是每个企业都试图走完完整的金融梦想。
众多手握现金的酒企不约而同的选择了投资、理财。据Wind数据显示,2022年认购理财产品的上市酒企有山西汾酒(600809. SH)、今世缘(603369.SH)、舍得酒业(600702.SH)、古井贡酒(000596.SZ)、青岛啤酒(600600.SH)、重庆啤酒(600132.SH)等。
例如舍得酒业在2022年4月公告,公司及子公司使用不超过15亿元的短期闲置自有资金购买低风险理财产品。山西汾酒在2022年5月公告表示,拟使用不超过200亿元的额度购买结构性存款的企业。今世缘在2022年6月公告,拟投入10亿元进行超短期理财。
图源:罐头图库
投资做得好,也能成为企业的第二增长曲线。例如今世缘2019年至2020年,投资收益分别为1.73亿元、2.97亿元,投资收益占比同期净利润的份额分别为12.22%、20.1%。
但2021年,今世缘同样因钟情房地产信托等原因投资收益下滑为1.21亿元,占比降为6.1%。
此外,今世缘还因委托理财没有及时公告,在2022年5月31日收到了江苏证监局的警示函。
根据警示函显示,2018年8月30日,今世缘使用自有闲置资金5000万元购买委托理财,使得连续12个月未披露的委托理财余额达到5.596亿元,占公司最近一期经审计净资产的10.63%。
在此之后,今世缘继续进行委托理财,多次达到临时信息披露标准,但均未履行临时信息披露义务。因此江苏证监局对今世缘出具警示函,并记入证券期货市场诚信档案。
王赤珅表示,对于实业企业来讲,金融本身具备杠杆属性,杠杆具有双刃剑,如果企业发展呈现出业务规模、经营利润和资本能力三升局面,金融和实业形成补益和良好互动,则企业能够走完走全走久全部金融业态,有的企业能力不足,涉金过程中表现力不从心的窘态,有的则是步子迈的太大,拉伤了自己;有的民营机构的股东原来寄希望这些金融业务能支持自己的主营业务,另一方面还能美化其财务报表,但现实发展没有朝他们想要的方向发展,甚至给实控人或股东增加负担,而且可能会带来更大拖累,这些业务已经变成了他们的毒资产。
猜你喜欢
致敬中国品牌!五粮液用行动诠释“和美”力量
百年风雨,初心不改。五粮液历经百年沉淀印证,民族品牌的成长,源于笃行实干的坚守、顺势求新的迭代,以及与家国同频的责任担当。谁是世界杯冠军“预言家”,五粮液千万现金“寻主”
4月20日起,作为FIFA美加墨世界杯官方联名白酒,五粮液重磅上线“猜世界杯冠军,赢五粮液千万奖金”主题活动。中国香港首发破圈!五粮液一见倾心,重塑白酒年轻化、国际化
4月16日,五粮液一见倾心亮相中国香港,4月20日转战新加坡,当天“五粮液一见倾心新加坡首发上市暨倾心之夜”在新加坡五粮液大酒家圆满举行。五粮液千万悬赏“预言家”,从世界杯的“看客”到“玩家”
活动自4月20日启动,设下三轮递进式奖金池:第一轮“小组出线”瓜分200万元,第二轮“晋级8强”再分300万元,终极轮“夺冠之战”500万元,累计1000万元现金。从“规模红利”到“价值红利”,五粮液以“消费者主权”构建产业新逻辑
以消费者为圆心、以价值深耕为半径,五粮液正以知行合一的姿态,携手行业同仁推动白酒历史经典产业实现更高水平的价值跃升。白酒营销新天花板?五粮液“盲盒+世界杯+黄金”三招破局,二手市场已疯狂
近期,白酒二级市场掀起“盲盒热”。第八代五粮液美加墨世界杯官方联名白酒“世界杯隐藏款”,在闲鱼、小红书等平台热度攀升,成为藏家与投资者瞩目的焦点。

博望财经








